
服務熱線
來源: 發表時間:2015-05-19 17:24:34 點擊次數:【】
彈簧式圓錐破碎機具有破碎比大、效率高、功耗少、產品粒度均勻和適于破碎硬物料等特點,所以當今世界各國仍廣泛地采用,并對它進行了改進,采用液壓裝置等,使它更加完善。
彈簧式圓錐破碎機具有比旋回破碎機高2.5倍的轉速和大4倍的擺動角。在這樣高轉速、大沖程的破碎過程中,破碎腔內的物料,不是像旋回破碎機那樣,受運動較侵、沖程較小的動錐的擠壓,而是受大沖程的快速沖擊。這樣的沖擊破碎方法,有利于物料的破碎,因此破碎效率高。
由于彈簧式圓錐破碎機高轉速、大沖樣的緣故,破碎腔內的物料,有95%的時間處于沿錐面下滑的運動狀態,也就是在任意瞬間,物料只有5%處于被破碎狀態。由于物料95%的時間處于下滑狀態,破碎腔的通過能力大,則產量就高。由于物料只有5%處于被破碎狀態,也就是整個破碎腔只有5%的面積用十破碎物料,因此它的功耗小。并且,在破碎腔的局部面積上,產生很高的對物料單位面積上的壓力,就便它適于破碎硬礦石。由于其轉速高相破碎腔下部沒有長度不問的平行區,保證物料在乎行區內至少被破碎一次的緣故,因此彈簧式圓錐破碎機的產品粒度均勻。
彈簧式圓錐破碎機可用于中、細碎。中、細碎彈簧式圓錐破碎機的不同點,在于破碎腔的形狀和尺寸的不同,其他結構原理完全一樣。我國生產的彈簧式圓錐破碎機,根據破碎腔的形狀可分為標準型(中碎用)、中型(小、細碎用)和短頭型(細碎用)三種形式。其巾,以標準型和短頭型應用最廣。彈簧式圓錐破碎機的規格,用動錐大頭直徑D表示。
例如:PYT—1219表示彈簧式圓錐破碎機,其動錐大頭直徑為1200mm,給料口尺寸為190mm。
原來所用的標記是用漢語拼音字母和動錐大頭直徑表示,如PYB2200,PYZ2200和PYc6200。其中,P為破碎機,Y為圓錐,B為標準型,Z為中型,D為短頭型,2200為動錐大頭直徑(mm)。彈簧式圓錐破碎機的破碎腔斷面形狀,如圖4-1所示。其破碎腔尺寸見表4-1。


彈簧式圓錐破碎機的構造如圖4—2所示G破碎機的工作機構是由帶錳鋼襯板16的破碎錐和帶錳鋼襯板12的調整環10組成。破碎錐的錐體17與其襯板16之間要澆注 層鋅合金,以保證其緊密結合。襯板12與調整環10之間也澆注——層鋅合金,同時,用u形螺釘通過襯板上的掛鉤,將其懇掛在調整環上,以保證緊固的連接。
破碎錐的錐體17壓裝在錐形軸上。錐形軸的一端裝入偏心軸套31的錐形孔內。在偏心軸套的錐形孔中裝有青銅(或MC一6尼龍)襯套30。偏心軸套放入機架7的中心套筒25中,其間還裝有青銅(或MC一6尼龍)襯套26。偏心鈾套與襯套26的間隙及錐形軸與錐形襯套30的間隙(見圖4-3)對保證破碎機的正常運轉極為重要.間隙過大會引起偏心軸套印錐形軸很大的傾斜,使襯套局部發熱;間隙過小也會引起襯套發熱,甚至會因金屬擴散作用使襯套發熱部分縮小而將錐形軸夾緊。表4-2為圓錐破碎機襯套的許用間隙。
電動機1的旋轉運動通過彈性聯軸節2、傳動袖3和圓錐齒輪副4與5傳給偏心軸套,使其繞破碎機中心線轉動。當偏心軸套旋轉時,支承在球面軸瓦20上的破碎圓錐便繞固定點O擺動,從而使物料在破碎空間不斷地遭到擠壓和彎曲作用而破碎。被破碎的物料從支承在框架上的給料箱14落到給料盤13上,由此再均勻地落入破碎錐周圍的破碎空間內。破碎后的物料,從兩錐體下部的排料縫隙經過聯接機架7與卞心套筒25的筋板24之間的空隙落到破碎機下面的皮帶運輸機上運走。


偏心軸套31支承在由三片圓盤組成的止推軸承27上.最下面的鋼圓盤固定在機架下蓋28上,上面的鋼圓盤與偏心軸套用銷釘相聯,并隨之轉動,而中間的青銅圓盤則作相對滑動。青銅圓盤的總厚度每年至少要檢查兩次,因為青銅圓盤磨損后,就要減少圓錐齒輪的嚙合間隙。圓錐齒輪嚙合側面向隙不足.就會在齒面和傳動軸的軸展上產生很大的附加負荷。圓錐齒輪的嚙合間隙,如圖4—4所示。其值見表4-3。

為了平衡破碎錐作回轉運動而產生的慣性力矩,保證偏心軸套與機架襯套26沿全長接觸,并使偏心軸套的厚邊緊壓相機架的襯套上,所以,在大圓錐齒輪上鑄有平衡重。破碎推文承在球面軸承座21的球面軸瓦20上。為了滿足破碎錐作涌回運動的要求,破碎錐體17的下表面至做成球形。為了保證破碎機正常工作,必須使破碎錐體17的球面半徑比球面軸瓦的球面半徑大一些。在這種情況下,破碎錐體將會支持在球面軸瓦的外圓,工作一個時期后,則支持在球面的整個表面上。
為了防止灰塵進入機器的摩擦表面,在球面軸承上裝有水封防塵裝置。在局面軸承應21上有盛水或盛不結凍液體9的環形槽23,而在破碎镕下端固定有球形強圈22,其下端插入環形槽的水中,球形頸圈把灰塵擋住,使灰塵落入水中,這樣就防止灰塵進入機器內部,水或其他液體不斷的循環流動,清水從專用水箱用水泵經由進水管送入漕中,帶有灰塵的水則從排水管排出。
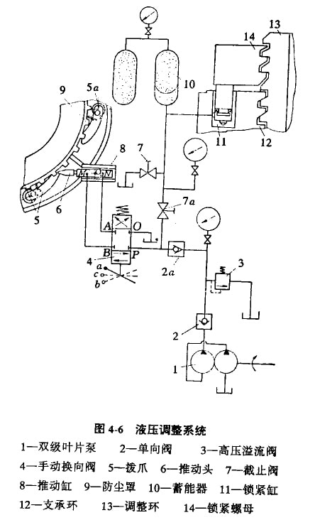
支承環8和調整環lo組成了調節排料口縫隙的調整裝置。支承環安裝在機架7的上部,用裝置在破碎機周圍的彈簧6與機架貼緊。支承環的上面有鎖緊螺母18。支承環上部裝有鎖緊油缸及活塞19(1200圓錐破碎機裝10個油缸,1750圓錐破碎機裝12個油缸,2200圓錐破碎機裝16個泊缸)。防塵罩11裝于女承環亡,外部周邊焊有矩形齒塊。兩對撥爪33及一對推動油缸9均分別安裝在支承環上,如圖4-5所示。排料口液壓調整裝置的液壓系統見圖4-6。


調整排料口,是靠推動缸8,通過防塵罩9的凸臺,使調整環13旋轉來實現。調整過程如下;首先將截止閥7打開,鎖緊缸11油壓從10MPa降至零,使調整環13與支承環12的連接螺紋放松。然后啟動14MPa壓力的雙級葉片泵1,壓力油通過單向閥2,高壓溢流閥3(即安全閥,壓力調到10MPa)和單向閥2a,進入三位四通手動換向閥4。
手動換向閥的手柄有三種不同位置,可以改變如下油流方向:
(1)手柄處于中間位置c時,各路不通;
(2)手柄處于向前推的位置a時,壓力油進口P與A通,B與回油門O通;
(3)手柄處于向后拉位置b時,壓力油進口P與B通,A與回油口O通;
當手動換向閻處于a位置時,A與N通,迫使推動缸活塞向前推進。由于推動頭6的形狀,推動過程能使撥爪5以O3點為中心向外擺動,離開防塵軍9的凸臺。當推動缸8推動防塵罩凸臺,沿圓周方向運動一個凸臺間距的過程中,推動缸8本身又以O1為中心自由轉動,以適應凸臺位置改變的需要。另一撥爪5a,在凸臺沿圓周方向移動時,亦使撥爪5a以O2為戶心向外擺動。
當推動缸完成一個凸臺間距之后,將手動換向閥變為b位置,B與M通,推動缸即可后退。撥爪上裝有彈簧,使它始終壓在推動頭6上。因此,在推動缸后退時,撥爪5和推動缸8分別以O3和Ol為中心逐漸自動復位,另一撥爪5a,亦在彈簧的作用下自動復位,兩撥爪卡住凸臺,起止動作用。
防塵罩旋轉一個凸臺的距離,排礦口約減小或增大1mm左右,調整排料口時,根據其具體的需要,按上述程序進行調整。排料口調好后,將手動換向閥改為c位置,此時調整系統全不通。打開截止閥7a,關閉截止閥7,待鎖緊缸壓力升至10MPa時,關閉截止閥7a,停止雙級葉片泵1,破碎機即可開始工作。
蓄能器10,在液壓系統中起補漏和緩沖作用。它由橡皮囊和外殼組成。里面充入氮氣,一般氣壓充至7-8MPa。當油壓最終達到10MPa之后,囊中的氣體被壓縮,蓄能器下部進入一部分液壓油,以補充管路 各部的漏損。
當排料口需要增大時,可用手將推動缸向上抬起,把推動頭6,從對著撥爪5轉向對著撥爪5a的位置上,即可實行與前述相反方向的調整排礦口。
調整環的鋸齒螺紋采用墊圈或橡皮圈密封。
安裝在機架周圍的彈簧6是破碎機的保險裝置。當破碎腔中掉入非破碎物時,支承在彈簧上的支承環和調整環力求向上抬起而壓縮彈簧6,從而增大了排料口間隙,使非破碎物經排料口排出,避免機件破壞。彈簧的張緊程度對機器的正常工作具有很大的意義。在擰緊彈簧時,應考慮到使其留有一定的壓縮裕量。破碎機每組彈簧壓縮后的工作高度見表4-4。

圓錐破碎機是采用稀油循環系統來潤滑機器的圓錐齒輪4和5、偏心軸套31的內、外襯套30和26、球面軸瓦及傳動軸的軸承等摩擦部件。油從機架下蓋28側壁上的進油孔29進入偏心油套下面的止推圓盤中,油經過圓盤的巾心孔沿其端面k的油溝流入,從而潤滑止推圓盤的工作表面.同時,油從圓盤巾心孔沿偏心軸套與其內、外襯套的間隙亡升以潤滑各摩擦表面,其次,還有一股油沿主鉑上的中心孔上升而潤滑球面軸瓦。從偏心軸套和球面軸瓦內溢出來的潤滑油,潤滑圓錐齒輪。最后,油便從排油孔排出而流回油箱中。傳動軸軸承是采用單獨的循環油路進行潤滑的。
鋸齒形調整螺紋的潤滑是通過支承環側壁卜的注油孔定期向螺紋中壓入黃油。

潤滑油站常用潤滑油:冬季應采用L—TSA32和L—TSA46汽輪機油或者用L—AN32或L—AN46機械油;一般溫度采用低速柴油機油或L—AN68機械油;夏季采用HG11汽缸油。
上述圓錐破碎機的排料口調整裝置雖然用液壓操縱,但結構仍為螺紋調整裝置,由于難免灰塵進入螺紋內,所以排料口調整仍感困難,其次取出產在破碎腔中而不能被破碎的物體也很不方便。為了克服彈簧保險圓錐破碎機的缺點。我國已設計并制造出液壓保險的多缸圓錐破碎機及液壓調整和保險的底部單缸液壓圓錐破碎機。
上一篇:礦物的機械強度對磨碎的影響
下一篇:底部單缸液壓圓錐破碎機的構造